Регулировка переключения передач (М20 / М32)
1)Вдавить регулировочный элемент (1) на тросовую систему переключения передач и зафиксировать
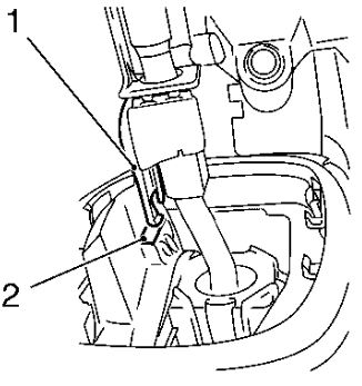
2) Зафиксировать положение включения в коробке передач
Нажать привод переключения передач вверх (стрелка)
Установить KM-527-A (1) на приводе переключения
3)Снять облицовку рычага переключения механической коробки передач (1)
Освободить крышку рычага переключения механической коробки передач из зажимов на центральной консоли
Вывернуть вверх облицовку рычага переключения механической коробки передач с рамкой облицовки
4) Демонтаж кнопки переключателя
Освободить присоединение блокировки заднего хода (2) от кнопки переключателя
Передвинуть стопорное устройство (3) вверх
Снять кнопку переключателя
5) Зафиксировать рычаг переключения механической коробки передач в исходном положении
Сдвинуть стопор заднего хода вверх на рычаге переключения передач и повернуть на 90° против часовой стрелки
Наклонить рычаг переключения передач влево и вставить стопор заднего хода с помощью стопорного устройства (1) в крепление (2) слева
6) Ослабить регулировочный элемент на тросовой системе переключения передач
Вытолкнуть стопорное устройство (1) назад
7)Разблокировать рычаг переключения механической коробки передач
Сдвинуть стопор заднего хода вверх на рычаге переключения передач и повернуть назад на 90° по часовой стрелке
Передвинуть стопор заднего хода вниз
8) Установить кнопку переключателя
Продвинуть кнопку переключателя до упора на рычаге переключения передач
Передвинуть стопорное устройство вниз
Закрепить в зажимах присоединение блокировки заднего хода на кнопке переключателя
9)Снять KM-527-A (1)
Указание: Потянуть привод переключения передач немного вверх (стрелка)
10)Проверить легкость переключения передач
При стоящем автомобиле
При работающем двигателе
При выключенном сцеплении
11) Установить крышку рычага переключения механической коробки передач
Закрепить крышку рычага переключения механической коробки передач в зажимах центральной консоли

Комментариев пока нет, оставьте первый.